| ·ÎÁ÷¿ë üũ ´ÜÀÚ
[ǰ¹øSB½Ã¸®Áî] (£±ÆÑ 1,000°³ÀÔ) ÇÁ¸°Æ®±âÆÇ µÎ²²3.2£ô¿ë |
|---|
![]() |
![]() |
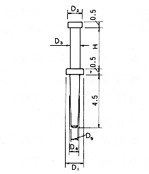
| ǰ¹ø | D1 | D2 | D3 | D4 | D5 | H |
ÇÁ¸°Æ®ÆÇ ÃëºÎ±¸¸Û°æ |
|---|---|---|---|---|---|---|---|
| SB-1-1 | 1.5¥õ | 1.2¥õ | 0.8¥õ | 0.8¥õ | 0.65¥õ | 3.0 | 0.8¥õ |
| SB-1-2 | 1.5 | 1.2 | 0.8 | 0.8 | 0.65 | 5.0 | 0.8 |
| SB-2-1 | 2.0 | 1.5 | 1.0 | 1.0 | 0.8 | 3.5 | 1.0 |
| SB-2-2 | 2.0 | 1.5 | 1.0 | 1.0 | 0.8 | 6.5 | 1.0 |