µ¿ÃàÄÉÀ̺í
µ¿ÃàÄÉÀ̺í ÃëºÎ¿ë ÇÉ
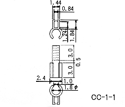
[ǰ¹øCC-1-1¡¢CC-1-2] (£±ÆÑ 1,000°³ÀÔ) |
- µ¿ÃàÄÉÀ̺íÀ» ÄܳØÅÍÀÇ ´Ù¸®¿¡ ³³¶«ÇÒ¶§ »ç¿ëÇÏ´Â ÇÉÀÔ´Ï´Ù¡£
- ÄܳØÅÍ ´Ù¸®¿¡ µ¿ÃàÄÉÀ̺íÀÇ ½É¼±À» Á÷Á¢ ³³¶«Çϸé Àß·ÁÁú ¿ì·Á°¡ ÀÖ½À´Ï´Ù¡£ÀÌ ÇÉÀ» »ç¿ëÇϸé Àý´ÜÀ» ¹æÁöÇÏ°í ¶ÇÇÑ ÀÛ¾÷¼ºÀ» ÇѴܰè
Çâ»ó½Ãŵ´Ï´Ù¡£
- ǰ¹ø・・・・・・£Ã£Ã££±££±¡¢£Ã£Ã££±££²
- ÀçÁú・・・・・・¸°Ã»µ¿£°£®£³£ô
- ó¸®・・・・・・´ÏÄÌÁÖ¼®µµ±Ý
- ÀûÇÕ ÄܳØÅÍ ´Ù¸®・・・・・・£°£®£¶£´¡à
- ÀûÇÕ µ¿ÃàÄÉÀ̺í
- £±£®£µ£Ã££²£Ö(£Ã£Ã££±££±)
- £²£®£²¥õº¸´Ù ¾ãÀº °Í(£Ã£Ã££±££²)
- »ç¿ë¹æ¹ý

- µ¿ÃàÄÉÀ̺íÀ» £ÁºÎ¿¡ ³Ö¾î¼ ÆæÄ¡·Î ´·¯ °íÁ¤½Ãŵ´Ï´Ù¡£
- ½É¼±À» £ÂºÎ¿¡ 1ȸ °¨¾Æ ºÙ¿© ÁÝ´Ï´Ù¡£
- £ÃºÎ¸¦ ÄܳØÅÍÀÇ ´Ù¸®¿¡ ³Ö¾î¼ £ÂºÎ¿Í °°ÀÌ ³³¶«À» ÇÕ´Ï´Ù¡£
- ½ÇµåÃøµµ °°Àº ¹æ¹ýÀ¸·Î ÇÕ´Ï´Ù¡££¨£ÂºÎ¿¡ °¨¾Æ ºÙÀÏ ÇÊ¿ä´Â ¾øÀ½£©
PDFÆÄÀÏ(30KB)