¼ö¸®¿ë
ÇÁ¸°Æ®ÆÇ ¼ö¸®¿ë´ÜÀÚ £ÛRT,PS½Ã¸®Áî] (£±ÆÑ1,000°³ÀÔ)
»ç¿ë¿¹
ÇÁ¸°Æ®±âÆÇÀÇ »óÇÏ µµÅë¿ë Ȧ ºÒ·®À» ¼ö¸® °¡´ÉÇÑ ´ÜÀÚ ÀÔ´Ï´Ù¡£
ºÒ·® °üÅë Ȧ¿¡ Áý¾î³Ö¾î ºÎǰ¸é¡¢³³¶«¸é ¾ç¹æ¿¡¼ ³³¶«ÇÏ¿© ÁֽʽÿÀ¡£
ÀçÁú・・・・・・Ȳµ¿
ó¸®・・・・・・´ÏÄ̼ºÁÖ¼®µµ±Ý
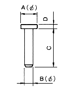
ǰ¹ø
A
B
C
D
ÇÁ¸°Æ®ÆÇ
ÃëºÎ±¸¸Û°æ(¥õ)
RT-1-1
0.4
0.25
3.2
0.12
0.3
RT-1-2
0.4
0.25
5.0
0.12
0.3
RT-1-3
0.4
0.25
5.5
0.12
0.3
RT-2-1
0.5
0.35
3.2
0.2
0.4
RT-3-1
1.0
0.7
3.2
0.3
0.8
PS-1-1
1.2
0.7
3.7
0.3
0.8
PS-1-2
2.0
0.7
3.7
0.3
0.8
PDFÆÄÀÏ(23KB)
Close