¼ÒÄÉÆ®ÇÉ
| °æ»çÇü ¼ÒÄÉÆ®¿ë °¡À̵å [AAG½Ã¸®Áî] (£±ÆÑ 10°³ÀÔ) |
 |
| »ç¿ë¿¹ |
 |
- ¼ºê±âÆÇ¿¡ ¹«°Å¿î ¹°Ç°À» žÀç ÇÒ °æ¿ì¡¢´ëÇü±âÆÇÀ» »ç¿ë ÇÒ ¶§ »ç¿ëÇÏ¿© ÁֽʽÿÀ¡£
- °æ»çÇü ¼ÒÄÉÆ®¿¡ ³Ö±â ½±µµ·Ï ÇÒ ¶§µµ »ç¿ë ÇØ ÁֽʽÿÀ¡£
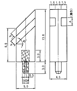
- ÀçÁú
- ¼öÁöºÎ・・・・・・£Ð£Â£ÔÈæ»ö(UL94V-0)
- ÇɺÎ・・・・・・Ȳµ¿¡¢´ÏÄÌÁÖ¼®µµ±Ý
- »ç¿ë¿Âµµ¹üÀ§・・・・・・££´£°¢¦£«£±£²£µ¡É
- ÇÁ¸°Æ®ÆÇ ÃëºÎ ±¸¸Û°æ・・・・・・£±£®£¶¥õ
| ǰ¹ø | A | PCÆÇ µÎ²² |
| AAG-0.6 | 0.7 | 0.6 |
| AAG-0.8 | 0.9 | 0.8 |
| AAG-1.0 | 1.1 | 1.0 |
| AAG-1.2 | 1.3 | 1.2 |
| AAG-1.6 | 1.7 | 1.6 |
PDFÆÄÀÏ(28KB)